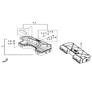
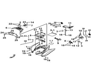
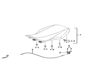
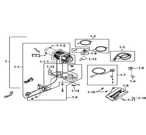
Rozkresy

ZNACKA - TGB ; TYP - TARGET 525/550 ; MODEL - TARGET 550 EFI

Celkem 62 produktů

Produkty